ÌØµã: 15161522622 0510-82845021 ÎÞÎýÍпËÒDZí
¡ò²ÉÓÃÏßÐÔ¹âµç¸ôÀ룬ƵÏì¿í¡¢¾«¶È¸ß
¡ò ÏßÐÔ²âÁ¿·¶Î§£º0¡«120%±ê³ÆÊäÈë
¡ò DIN±ê×¼µ¼¹ì°²×°
¡ò ¶àÖÖÊä³öÀàÐÍÈÎÑ¡£¬¶àÖֽṹÀàÐÍÈÎÑ¡
¡ò SMTÌùƬÉú²ú¼Ó¹¤¹¤ÒÕÖÆÔì
Ò»¡¢Ðͺź¬Ò壺

¶þ¡¢Ðͺż°¼¼Êõ²ÎÊý£º
1¡¢µçÁ÷±äËÍÆ÷
|
²úÆ·Ö÷ÐͺŠ|
ÊäÈ뷶Χ |
¾«¶ÈµÈ¼¶ |
Êä³öÀàÐÍ |
Êä³öÐźŠ|
ÏìӦʱ¼ä |
¸ºÔØÄÜÁ¦ |
¾²Ì¬¹¦ºÄ |
|
TE-I¡õA4¡õ |
1mA,2mA,5mA,10mA, 20mA,50mA,0.1A, 0.2A,0.5A, 1A, 2A,5A |
0.5 |
VG |
3.5V,5V |
15¦ÌS |
5mA |
350mW |
|
TE-I¡õA2¡õ |
0.5 |
VZ |
5V,10V |
250mS |
5mA |
400mW |
|
TE-I¡õA1¡õ |
0.5 |
IZ |
20mA |
250mS |
6V |
400mW |
|
TE-I¡õA3¡õ |
0.5 |
FK |
5kHz,10kHz |
250mS |
15mA |
400mW |
2¡¢µçѹ±äËÍÆ÷
|
²úÆ·Ö÷ÐͺŠ|
ÊäÈëÐźŠ|
¾«¶È
µÈ¼¶ |
Êä³ö
ÀàÐÍ |
Êä³öÐźŠ|
¸ºÔØÄÜÁ¦ |
ÏìӦʱ¼ä |
¾²Ì¬¹¦ºÄ |
|
TE-I¡õV4¡õ |
50mV,75mV,0.1V, 0.2V, 0.5V,1V,2V, 5V,10V, 20V 30V,50V,75V,100V, 150V, 200V,250V,300V,500V |
0.5 |
VG |
3.5V,5V |
5mA |
15¦ÌS |
300mW |
|
TE-I¡õV2¡õ |
0.5 |
VZ |
5V,10V |
5mA |
250mS |
400mW |
|
TE-I¡õV1¡õ |
0.5 |
IZ |
20mA |
6V |
250mS |
400mW |
|
TE-I¡õV3¡õ |
0.5 |
FK |
5kHz,10kHz |
15mA |
250mS |
400mW |
×¢Ò⣺1.¶¨»õÐͺÅÓ¦°üÀ¨£º±äËÍÆ÷Ðͺš¢ÊäÈë/Êä³ö¹æ¸ñ£¨ÊäÈë/Êä³ö·¶Î§Öµ£©¡¢¾«¶ÈµÈ¼¶µÈ¡£ÀýÈ磺TE- IAV2U-250V/1¡«5V-0.5¡£ 2¡¢µçÁ÷±äËÍÆ÷£ºÊäÈëµçÁ÷Öµ´óÓÚ5Aºó£¬½»Á÷ÐëÍâ¼Ó»¥¸ÐÆ÷£¬Ö±Á÷ÐëÍâ¼Ó·ÖÁ÷Æ÷¡£ 3¡¢µçѹ±äËÍÆ÷£ºÊäÈëµçѹֵ´óÓÚ500Vºó,½»Á÷ÐëÍâ¼Ó»¥¸ÐÆ÷,Ö±Á÷ÐëÍâ¼Ó·Öѹµç×è,²âÁ¿·¶Î§¿É´ï1KV¡£
Èý¡¢¼¼Êõ²ÎÊý£º
|
ÊäÈ뷽ʽ |
ÏßÐÔ¹âµç¸ôÀ룬½ÓÏßʽÊäÈ룬ÊʺÏÓÚ5AÒÔÄÚСµçÁ÷²âÁ¿ |
|
²âÁ¿·¶Î§ |
0¡«120%±ê³ÆÊäÈë |
|
ÏìӦƵÂÊ |
Ö±Á÷£º0¡«30kHz½»Á÷£¬×î¸ß¶¨×ö100kHz |
|
¸ôÀëµçѹ |
£¾1.5kVDC £¬1·ÖÖÓ |
|
ÊäÈë×迹 |
Vx¡Ü1Vʱ£¬R¢¡¡Ý1M¦¸£»Vx£¾1Vʱ£¬R¢¡= Vx¡Á10k¦¸/V |
|
¹²Ä£ÒÖÖÆ±È |
160db£¨50Hz£© |
|
¸ôÀëµçÈÝ |
½ÓÏßÊäÈë²úÆ·ÊäÈë¡¢Êä³ö¼ä¸ôÀëµçÈÝ£º6pF£¨1kHÏ£©£» |
|
¹ýÔØÄÜÁ¦ |
10±¶±ê³ÆÊäÈëÖµ£¬³ÖÐø5Ã룻 |
|
ÎÞ¹ÊÕϹ¤×÷ʱ¼ä |
ƽ¾ùÎÞ¹ÊÕϹ¤×÷ʱ¼ä£¾3ÍòСʱ£» |
|
¶î¶¨»·¾³ÎÂ¶È |
0¡«+50¡æ |
|
ÏûºÄ¹¦ÂÊ |
΢¹¦ºÄ |
ËÄ¡¢½ÓÏßͼ


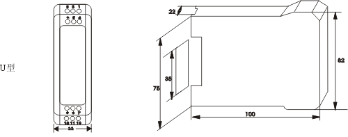
Îå¡¢ÍâÐμ°°²×°³ß´ç


Áù¡¢µäÐͽÓÏßʾÀý
(1)µçÁ÷Êä³öÐÍ( IZ )±äËÍÆ÷µÄÊä³öΪ¹²µØµçÁ÷Ô´£¬½ÓÏßÔÀí¼ûͼ1£¬Í¼ÖÐRLÊÇÓû§¸ºÔØ¡£ (2) ƵÂÊÊä³öÐÍ( FK)±äËÍÆ÷µÄÊä³ö¼¶Îª¼¯µç¼«¿ªÂ·ÃÅ ( NPN¹Ü) ½á¹¹£¬Ê¹ÓÃʱÐëÍâ½ÓÉÏÀµç×èRL£¬IR=3¡«10mA¡£Êä³öÂö³åΪ·½²¨£¬Âö³åµÄ·ù¶ÈÔ¼µÈÓÚÉÏÀµçÔ´µÄµçѹֵ¡£½ÓÏßÔÀí¼ûͼ2»ò3¡£

|