|
²úÆ·Ãû³Æ£º
|
UQDµç¶¯¸¡ÇòҺλ±äËÍÆ÷
|
ÐÍ ºÅ£º
|
UQD
|
¼Û ¸ñ£º
|
0.00
|
Æ· ÅÆ£º
|
|
|
|
²úÆ·¸ÅÊö |
¡¡¡¡µç¶¯¸¡ÇòҺλ±äËÍÆ÷£¬ÓɲâÁ¿²¿·ÖÓëÐźűäËÍÆ÷²¿·Ö×é³É¡£±íÍ·¾ù²ÉÓÃÏÖ´úÁ÷ÐпÇÌåÉè¼ÆÔìÐÎÃÀ¹Û£¬¸÷¹¤×÷Ç»ÊÒ¸ôÀ룬°²È«¿É¿¿¡£¿É¹ã·ºÊÊÓÃÓÚÕ³³í£¬ÔàÎÛ£¬Ò×ȼÒ×±¬¼°¸¯Ê´ÐÔ½éÖÊÒÔ¼°ÆäËûÀà½éÖÊҺλµÄ²âÁ¿¼°ÒºÎ»ÐźŵıäËÍ£¬ÊÇʯÓÍ£¬»¯¹¤£¬Ò±½ð£¬µçÁ¦¼°ÇṤµÈ¹¤Òµ²¿ÃÅÉú²ú¹ý³Ì¿ØÖÆÖÐÓÃÓÚҺλ²âÁ¿µÄÀíÏëÒÇ±í¡£
|
¹¤×÷ÔÀí |
¡¡¡¡µç¶¯¸¡ÇòҺλ±äËÍÆ÷µÄ²âÁ¿²¿·ÖÓɸ¡ÇòÓëÆ½ºâ¸ËºÍƽºâ´¸×é³ÉÁ¦¾ØÆ½ºâ»ú¹¹£¬Òò´Ë¸¡Çò¿ÉÒÔ×ÔÓɵØËæÒºÎ»µÄ±ä»¯¶øÉý½µ¡£µ±ÒºÎ»¸Ä±äʱ£¬¸¡ÇòµÄλÖ÷¢ÉúÏàÓ¦µÄ±ä»¯£¬Í¨¹ýÇò¸Ë´ø¶¯Ö÷Öáת¶¯£¬±íÍ·ÄÚ½ÇÎ»ÒÆ´«¸ÐÆ÷£¬½«ÒºÎ»µÄ±ä»¯×ª»»³ÉÏàÓ¦µÄµçÐźţ¬ÔÙÓɱíÍ·ÄÚ²¿µÄµç×ӵ緽«´ËÐźÅת»»ÎªÓëÒºÃæ±ä»¯³ÉÕý±ÈµÄ±ê×¼µçÁ÷Ðźš£
|
Ö÷ÒªÐÔÄܼ°¼¼ÊõÖ¸±ê |
Ãû³Æ |
ÐÔÄܼ°¼¼ÊõÖ¸±ê |
¹©µçµçѹ |
24V DC (11.5--30) |
Êä³öÐźŠ|
4¡«20mA £«HARTÐÒé |
¾«¶ÈµÈ¼¶ |
1.0 |
ÏÖ³¡Ö¸Ê¾ |
Òº¾§ÏÔʾ±í+Ö¸Õëָʾ |
µ÷ÊÔ·½·¨ |
µ÷ÊÔÈí¼þ£«PC»ú£»ÊÖ³ÖÆ÷£¨Ô¶³Ì£© |
×èÄáʱ¼äÑ¡Ôñ |
0¡«32Ãë |
ÏÖ³¡ºÍÔ¶³Ì×é̬ |
ÓÐ |
³¬³öÁ¿³Ì±¨¾¯¼°¹ÊÕÏÕï¶Ï |
ÓÐ |
»·¾³ÎÂ¶È |
-30¡«70¡æ£¨´øÒº¾§ÏÔʾ²¿·Ö£© |
¹¤×÷ÎÂ¶È |
-40¡«225¡æ£¬225¡«450¡æ |
¸ºÔصç×è |
200Å·Ä·¡«1000Å·Ä· |
¸¡ÇòÖ±¾¶ |
¦Õ230 |
¹«³ÆÑ¹Á¦ |
2.5£¬4.0£¬6.3MPa |
·À»¤µÈ¼¶ |
IP65 |
·¨À¼±ê×¼ |
JB/T82.2-94 |
½éÖÊÃÜ¶È |
¡Ý0.55g/cm3 |
µçÔ´ÒýÈë¿Ú |
M20¡Á1.5£¨ÄÚÂÝÎÆ£© |
¹«³ÆÍ¨¾¶ |
DN250 |
½ÓÒº²ÄÖÊ |
·¨À¼£ºÌ¼¸Ö£¬²»Ðâ¸Ö£»ÆäÓàΪ²»Ðâ¸Ö | |
½á¹¹¼°°²×°³ß´ç |
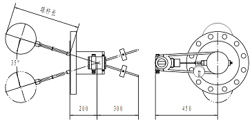
¡¡¡¡½á¹¹Ìص㠹¹Ôì¼òµ¥£¬°²×°·½±ã£¬ÓÈÆäÊʺÏÓÚ³¤Çò¸ËСÁ¿³ÌµÄ¹¤¿ö»·¾³¡£¸¡ÇòÔËÐнǡÜ35¡ã ÍâÐÍͼ¼°°²×°³ß´ç

ÐͺŠ|
¹æ¸ñ±àºÅ |
ÄÚÈÝ |
UQD |
|
µç¶¯¸¡ÇòҺλ±äËÍÆ÷ |
|
A |
|
Ä£Äâ±íÍ· |
Z |
|
ÖÇÄܱíÍ· |
|
X |
|
ÌØÊâÒªÇóµÄ·¨À¼±ê×¼»ò³ß´ç£¨ÇëÏêϸעÃ÷£© |
P1 |
|
JB/T82.-94 PN4.0MPa£¬DN250 |
P2 |
|
JB/T82.-94 PN6.3MPa£¬DN250 |
|
i |
|
±¾Öʰ²È«ÐÍ |
d |
|
¸ô±¬ÐÍ |
|
C |
|
·¨À¼²ÄÖÊ£ºÌ¼¸Ö,ÆäÓàÄÚ²¿½ÓÒº²ÄÖÊ:304 |
S |
|
·¨À¼²ÄÖÊ£º304,ÆäÓàÄÚ²¿½ÓÒº²ÄÖÊ:316 |
|
T1 |
±»²â½éÖÊζȣº-40¡«225¡æ |
T2 |
±»²â½éÖÊζȣº225¡«450¡æ |
UQD |
¡õ |
¡ª |
¡õ |
¡ª |
¡õ |
¡õ |
¡õ |
|
Ñ¡Ð;ÙÀý£ºUQD.A-P1-IcT2ΪÆÕͨÐ͵綯¸¡ÇòҺλ±äËÍÆ÷,Ä£ÄâÐͱíÍ·£¬¹«³ÆÑ¹Á¦4.0MPa,¹«³ÆÍ¨¾¶250mm,±¾Öʰ²È«ÐÍ,·¨À¼²ÄÖÊΪ̼¸Ö,±»²â½éÖÊζÈ225¡«450¡æ,´øÉ¢ÈÈÆ¬µÄ²úÆ·¡£ ×¢£º 1.Èç·¨À¼¹«³ÆÑ¹Á¦£¬¿Ú¾¶»ò±ê×¼²»ÔÚÉÏÊöÑ¡ÏîÄÚ£¨Ä¬ÈÏ·¨À¼±ê׼ΪJB£¯T82.2-94Í¹Ãæ£©£¬ÇëÁíÍâ×¢Ã÷£¬Ñ¡ÐÍÈԿɲÎÕÕ²úÆ·Ñ¡ÐÍ±í¸ø³öÓëʵ¼ÊÒªÇóÏàµÄÐͺš£ 2.È縡Çò·¨À¼»òÄÚ²¿½ÓÒº²ÄÖʳ¬³öÉÏÊöÑ¡Ôñ£¬ÇëÁíÍâ×¢Ã÷£¬Ñ¡ÐÍÈԿɲÎÕÕ²úÆ·Ñ¡ÐÍ±í¸ø³öÓëʵ¼ÊÒªÇóÏà½üµÄÐͺš£
|
Á¿³Ì·¶Î§Óë¸Ë³¤¶ÔÕÕ±í |
²úÆ·ÐͺŠ|
²âÁ¿·¶Î§£¨mm£© |
Çò¸Ë³¤£¨mm£© |
²âÁ¿·¶Î§£¨mm£© |
Çò¸Ë³¤£¨mm£© |
UQD |
400 |
571 |
1100 |
1734 |
500 |
738 |
1200 |
1900 |
600 |
903 |
1300 |
2066 |
700 |
1069 |
1400 |
2232 |
800 |
1235 |
1500 |
2398 |
900 |
1402 |
1600 |
2565 |
1000 |
1568 |
1800 |
2897 | |
µ÷ÊÔ·½·¨ |
¼ûÉϺ£ÊÐʢ̫¿ËÒDZíÓÐÏÞ¹«Ë¾HART ÖÇÄÜÒDZí×é̬Èí¼þʹÓÃÊÖ²á ¹Ø¼üµã£º ³£ÎÂÏßÐÔУÕý£º µÚ1µãµ½µÚ9µãĬÈÏֵΪ10%FSµ½90%FSÒÀ´Î¾ùÔȵÝÔö¡£ÏßÐÔУÕýʱ£¬ÇëÏȶԱäËÍÆ÷Ê©¼ÓУ¸ß¶ÈÖµ£¬Èç¹û¸Ã¸ß¶ÈÖµ²»ÊÇĬÈÏÖµ£¬ÇëÔÚÏàÓ¦µÄѹÁ¦ÖµÒ»À¸ÖÐÊäÈëÊ©¼ÓµÄ¸ß¶ÈÖµ£¬ÔÙµã»÷¶ÔÓ¦µÄ[²É¼¯]°´Å¥£¬È»ºóµã»÷[´«ËÍÊý¾Ý]¼´¿É£¬Ð£ÕýµãÊý¸ù¾Ý±äËÍÆ÷¾«¶ÈÒªÇó×ÔÐÐÑ¡Ôñ¡£
|
|
|
|