Ê×Ò³ - ÐÂÎÅ - ÕÐÆ¸ - ÏÂÔØ - ²úÆ· - ³§ÉÌ - ·½°¸ - ÎÄÕª - Çó¹º - Õ¹ÀÀ
Ãâ·Ñ×¢²á µÇ¼ | ¹ã¸æ·þÎñ | ¿Í·þÖÐÐÄ
Öлª¹¤¿ØÍø ¡ú ¹¤¿Ø²úÆ· ¡ú ²£Á§×ª×ÓÁ÷Á¿¼Æ
²úÆ·Ãû³Æ£º ²£Á§×ª×ÓÁ÷Á¿¼Æ
ÐÍ ºÅ£º HQ
¼Û ¸ñ£º 0.00
Æ· ÅÆ£º
 
Êղش˲úÆ·     ²é¿´ÊÕ²Ø
::²úÆ·¼ò½é::

LZB/LZJϵÁв£Á§×ª×ÓÁ÷Á¿¼Æ¹ã·ºÓ¦ÓÃÓÚ»¯¹¤¡¢Ê¯ÓÍ¡¢ÇṤ¡¢Ò½Ò©¡¢»·±£¡¢Ê³Æ·¼°¼ÆÁ¿²âÊÔ¡¢¿ÆÑ§Ñо¿µÈ²¿ÃÅ£¬²âÁ¿µ¥Ïà·ÇÂö¶¯Á÷Ìå(ÒºÌå»òÆøÌå)µÄÁ÷Á¿¡£
LZB/( )F/LZJ-( )FϵÁÐÄ͸¯²£Á§×ª×ÓÁ÷Á¿¼ÆÓнÏÇ¿µÄÄ͸¯ÐÔÄÜ£¬¿É¼ì²âËᣨÇâ·úËá³ýÍ⣩¡¢¼î¡¢Ñõ»¯¼ÁºÍÆäËü¸¯Ê´ÐÔµÄÆøÌå»òÒºÌåµÄÁ÷Á¿£¬ÊÊÓÃÓÚ»¯¹¤¡¢ÖÆÒ©¡¢ÔìÖ½¡¢ÎÛË®´¦ÀíµÈÐÐÒµ¡£

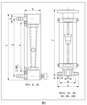
ÍâÐμ°°²×°³ß´ç

Ô­ÀíÓë½á¹¹


Á÷Á¿¼ÆÖ÷ÒªÓÉÒ»¸ù×Ô϶øÉÏÀ©´óµÄ×¶Ðβ£¹ÜºÍÒ»Ö»ËæÁ÷ÌåÁ÷Á¿´óСÉÏÏÂÒÆ¶¯µÄ¸¡×Ó×é³É£¨Í¼3£©¡£Á÷Ìå×Ô϶øÉÏÁ÷¾­×¶¹Üʱ£¬Á÷Ì嶯ÄÜÔÚ¸¡×ÓÉϲúÉúµÄÉýÁ¦SºÍÁ÷ÌåµÄ¸¡Á¦Aʹ¸¡×ÓÉÏÉý£¬µ±ÉýÁ¦SÓ븡Á¦AÖ®ºÍµÈÓÚ¸¡×Ó×ÔÉíÖØÁ¦Gʱ£¬¸¡×Ó´¦ÓÚÆ½ºâ£¬Îȶ¨ÔÚijһ¸ß¶ÈλÖÃÉÏ£¬×¶¹ÜÉϵĿ̶ÈָʾÁ÷ÌåµÄÁ÷Á¿Öµ¡£
Á÷Á¿¼ÆÖи¡×Ó¶ÁÊýλÖð´Í¼2Ëùʾ:

LZB/LZB-( )FÁ÷Á¿¼ÆµÄ×¶¹ÜΪ¹â»¬ÄÚ±Ú¹Ü(¼ûͼ4)£¬Í¨¾¶DN15ÒÔÉϵÄÁ÷Á¿¼Æ£¬¸¡×Óͨ¹ýµ¼¸Ë ÉÏÏÂÒÆ¶¯£¬±£³ÖÎȶ¨£»LZJ/LZJ-( )FÁ÷Á¿¼Æ×¶¹Ü ÄÚ±ÚÓÐÈýÌõµ¼Ïò͹½î£¬Ê¹¸¡×Ó±£³ÖÎȶ¨(¼ûͼ4)¡£Í¨¾¶DN10ÒÔϵÄÁ÷Á¿¼Æ²ÉÓÃÈí¹ÜÁ¬½Ó£¬ÅäÓÐ ÕëÐÎÁ÷Á¿µ÷½Ú·§£»Í¨¾¶DN15ÒÔÉÏÁ÷Á¿¼Æ²ÉÓ÷¨À¼Á¬½Ó¡£

¸ü¶à²úÆ·½éÉÜ£ºhttp://www.jshqyb.com
 


¹«Ë¾¼ò½é
²úƷĿ¼
¹©Ó¦ÐÅÏ¢

¹«Ë¾Ãû³Æ£º ½­ËÕ»ªÇåÒDZíÓÐÏÞ¹«Ë¾
µç »°£º 0517 86850101 / ÕÅÔÂÏã
ÊÖ»ú£º 13915184678
µØ Ö·£º ½­ËÕ½ðºþ¹¤ÒµÔ°Çø
ÓÊ ±à£º 211600
Ö÷ Ò³£º http://www.jshqyb.com

¸Ã³§ÉÌÏà¹Ø²úÆ·£º
  • ÈȵçżÓÃÄÍÈÈ500¡æ²¹³¥µ¼Ïß
  •  
  • ΢²îѹ±äËÍÆ÷
  •  
  • Һλ±äËÍÆ÷
  •  
  • ·À±¬Êý×ÖζÈÏÔʾÒÇ
  •  
  • Èȵçż¡¢Èȵç×è×Ô¶¯Ð£Ñé×°ÖÃ
  •  
  • YX-160-B·À±¬µç½ÓµãѹÁ¦±í
  •  
  • ÎÀÉúÐ͸ôĤѹÁ¦±í
  •  
  • ¹ý³ÌÐźÅУÑé·ÂÕæÒÇ
  •  
  • ×Ô¶¯£¨µç¶¯£©Ñ¹Á¦Ð£Ñé×°ÖÃ
  •  
  • Èȹ¤ÒDZíУÑé×°ÖÃ
  •  
    ¸ü¶à²úÆ·...
      ¹ØÓÚÎÒÃÇ | ÁªÏµÎÒÃÇ | ¹ã¸æ·þÎñ | ±¾Õ¾¶¯Ì¬ | ÓÑÇéÁ´½Ó | ·¨ÂÉÉùÃ÷ | ·Ç·¨ºÍ²»Á¼ÐÅÏ¢¾Ù±¨  
    ¹¤¿ØÍø¿Í·þÈÈÏߣº0755-86369299
    °æÈ¨ËùÓÐ ¹¤¿ØÍø Copyright@ Gkong.com, All Rights Reserved