Ïêϸ˵Ã÷£º
QQKϵÁÐÆø¿Ø»»Ïò·§
QQK-2452 QQK-2632b QQK-2332 QQK-1342T QQK-2352 QQK-1362T QQK-2642b QQK-2662a QQK-2462 QQK-2652b QQK-1362 QQK-2532c QQK-1422 QQK-2522c QQK-2622c QQK-1352T QQK-1432 QQK-2542c QQK-2632c QQK-2662b QQK-1442 QQK-2552c QQK-2642c QQK-1342 QQK-1452 QQK-2562c QQK-2652c QQK-2622b QQK-1462 QQK-2622a QQK-2662c QQK-2322 QQK-1322T QQK-1322 QQK-2422 QQK-2632a QQK-2432 QQK-2642a QQK-2342 QQK-1352 QQK-1332T QQK-1332 QQK-2442 QQK-2652a QQK-2362
Ò»¡¢ÐͺÅ

¶þ¡¢Í¼ÐηûºÅ
|
¶þ λ Èý ͨ |
µ¥ Æø ¿Ø |
³£±ÕÐÍ |
 |
Èýλ Èýͨ |
·â±ÕÐÍ |
 |
|
³£Í¨ÐÍ |
 |
Èý
λ
Îå
ͨ |
¼ÓѹÐÍ |
 |
|
Ë«Æø¿Ø |
 |
ÅÅ¿ÕÐÍ |
 |
|
¶þ λ Îå ͨ |
µ¥Æø¿Ø |
 |
·â±ÕÐÍ |
 |
|
Ë«Æø¿Ø |
 |
|
Èý¡¢Ìصã 1¡¢ÊÇDQKϵÁеÄÅÉÉú²úÆ·£¬ÓÃÆøÑ¶ºÅ¿ØÖÆ£¬ÊÊÓÃÓÚ²»ÔÊÐíµçÔ´´æÔڵij¡ºÏ¡£ 2¡¢ÊDZ¾¹«Ë¾´«Í³²úÆ·£¬¾²»¶Ï¸Ä½ø£¬¿É¿¿ÄÍÓá£
ËÄ¡¢Ö÷Òª¼¼Êõ²ÎÊý
|
¹«³ÆÍ¨¾¶ |
8£¨1/4¡å£© |
10£¨3/8¡å£© |
15£¨1/2¡å£© |
20£¨3/4¡å£© |
25£¨1¡å£© |
|
¹¤×÷ѹÁ¦·¶Î§£¨MPa£© |
µ¥Æø¿Ø£º0.15 ¡« 0.8£» Ë«Æø¿Ø£º0 ¡« 0.8£»Èýλ·§0.2 ¡« 0.8 |
|
×îµÍ¿ØÖÆÑ¹Á¦£¨MPa£© |
¡Ü0.5 |
|
ʹÓÃζȷ¶Î§£¨¡æ£© |
- 10 ¡« + 80 £¨µ«ÔÚ²»¶³½áÌõ¼þÏ£© |
|
¹¤×÷½éÖÊ |
¾¹ý¾»»¯²¢º¬ÓÐÓÍÎíµÄѹËõ¿ÕÆø |
|
ÓÐЧ½ØÃæ»ý£¨mm2£© |
15 |
40 |
55 |
110 |
190 |
|
»»Ïòʱ¼ä£¨S£© |
¡Ü0.04 |
¡Ü0.06 |
¡Ü0.06 |
¡Ü0.10 |
¡Ü0.10 |
|
×î¸ß»»ÏòƵÂÊ£¨´Î/Ì죩 |
1/30 |
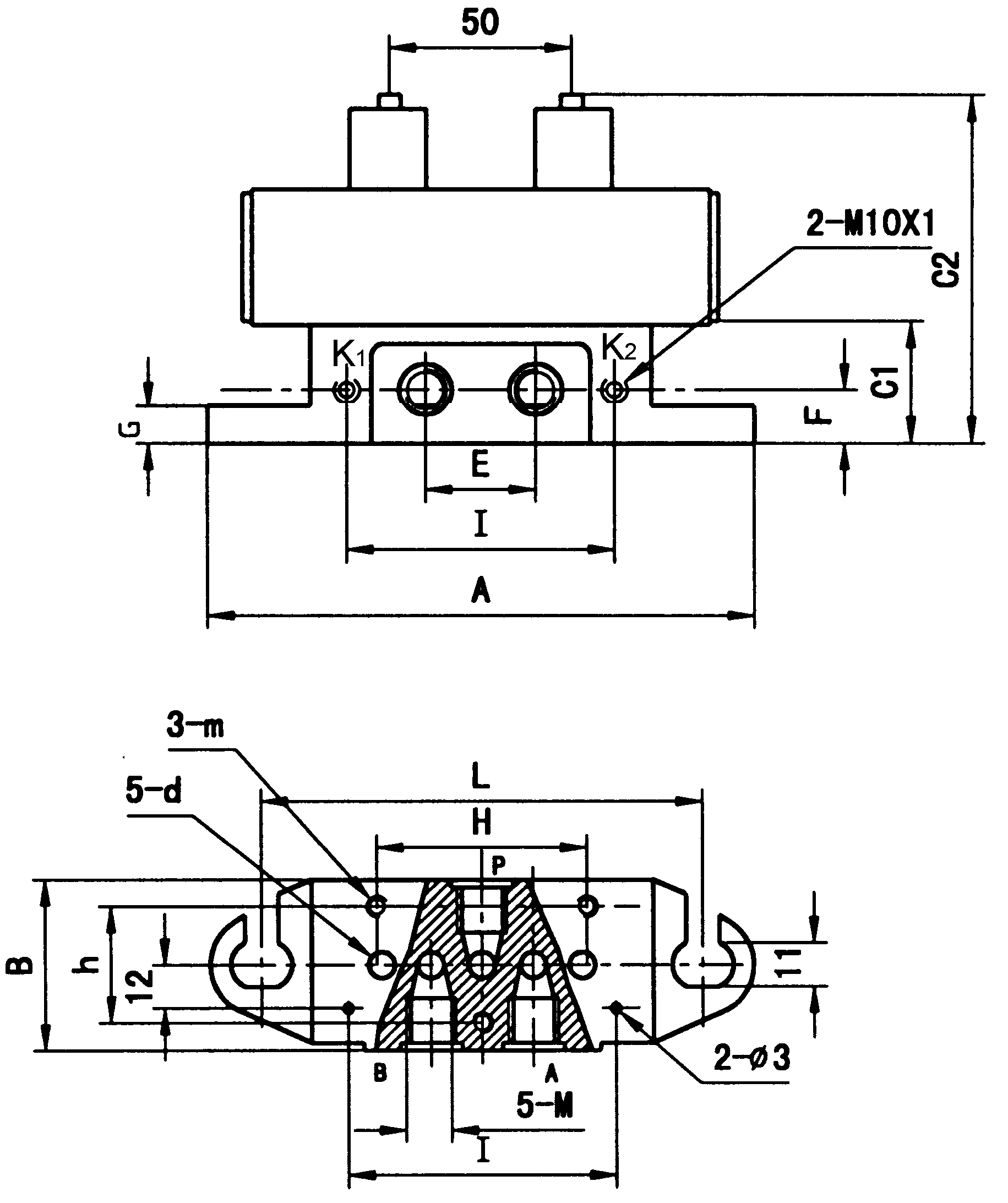
Îå¡¢ÍâÐμ°°²×°³ß´ç
 |
£¨¹Ü½Óʽ£© |
 |
£¨¹Ü½Óʽ£© |
|
|
|
|
£¨°å½Óʽ£© |
£¨°å½Óʽ£© | 1/4¡å¶þÎ»Æø¿Ø»»Ïò·§ 1/4¡åÈýÎ»Æø¿Ø»»Ïò·§  3/8¡å¡¢1/2¡å¡¢3/4¡å¡¢1¡å¶þÎ»Æø¿Ø»»Ïò·§ 3/8¡å¡¢1/2¡å¡¢3/4¡å¡¢1¡åÈýÎ»Æø¿Ø»»Ïò·§
£¨È¥µô·§×ùΪ°å½Ó·§£© £¨È¥µô·§×ùΪ°å½Ó·§£©
|
ͨ¾¶ |
A |
B |
C |
C1 |
C2 |
E |
F |
G |
L |
M |
m |
H |
h |
I |
d |
|
3/8¡å |
200 |
66 |
98.5 |
46 |
126 |
42 |
21 |
14 |
160 |
M16¡Á1.5 |
3 - M6Éî9 |
60 |
45 |
102 |
¦µ15 |
|
1/2¡å |
200 |
66 |
98.5 |
46 |
126 |
42 |
21 |
14 |
160 |
M20¡Á1.5 |
3 - M6Éî9 |
60 |
45 |
102 |
¦µ10 |
|
3/4¡å |
248 |
112 |
138.5 |
52 |
166 |
64 |
30 |
15 |
202 |
M27¡Á2 |
4 - M6Éî9 |
60 |
90 |
148 |
¦µ20 |
|
1¡å |
248 |
112 |
138.5 |
52 |
166 |
64 |
30 |
15 |
202 |
M33¡Á2 |
4 - M6Éî9 |
60 |
90 |
148 |
¦µ25 |

| 1¡¢ |
ÊÇDQKϵÁеÄÅÉÉú²úÆ·£¬ÓÃÆøÑ¶ºÅ¿ØÖÆ£¬ÊÊÓÃÓÚ²»ÔÊÐíµçÔ´´æÔڵij¡ºÏ¡£ |
| 2¡¢ |
ÊDZ¾¹«Ë¾´«Í³²úÆ·£¬¾²»¶Ï¸Ä½ø£¬¿É¿¿ÄÍÓᣠ|
|