BZFϵÁÐÕñ¶¯·À±ÕÈû×°ÖÃ(²Ö±ÚÕñ¶¯Æ÷)ÓÃ;¼°Ìص㣺
¡¡¡¡BZFϵÁзÀ±ÕÈû×°ÖÃÊÇÒÔÕñ¶¯µç»úΪ¼¤ÕñÔ´µÄ½ÚÄÜͨ¹ýÐͲúÆ·£¬ËüÊÇ¿¿¸ßƵÕñ¶¯ºÍ³å»÷Á¦£¬ÓÐЧµØÏû³ýÓÉÓÚÄÚĦ²Á¡¢³±½â¡¢´øµç¡¢³É·ÖÆ«ÎöµÈÔÒò¶øÒýÆðµÄ¼ÜÇÅ¡¢´î¹°¡¢¶ÂÈûµÈÏÖÏ󣬴ӶøÊ¹ÎïÁÏ´Ó²Ö¿Ú˳ÀûÅųö£¬±£Ö¤Îȶ¨¹©ÁÏËù±ØÐèµÄÉ豸¡£BZFϵÁзÀ±ÕÈû×°Öù㷺ӦÓÃÓÚÒ±½ð¡¢»¯¹¤¡¢½¨²Ä¡¢»ðµç¡¢ÃºÌ¿¡¢Ê³Æ·¡¢Ë®Äà¡¢ÖÆÒ©¡¢»¯·Ê¡¢Á¸Ê³¡¢ÖýÔì¡¢ÌÕ´É¡¢Ä¥ÁϵÈÐÐÒµÖÐÖüÁϲֵķÀ±ÕÈûÖ®Óá£BZFϵÁзÀ±ÕÈû×°ÖþßÓÐÌå»ýС¡¢ÖØÁ¿Çá¡¢¸ßЧ½ÚÄÜ¡¢°²×°¼òµ¥µÈÓŵ㡣
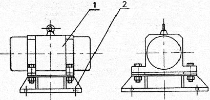
BZFϵÁÐÕñ¶¯·À±ÕÈû×°ÖÃ(·À±ÕÈû×°ÖÃ)½á¹¹¼°¹¤×÷ÔÀí£º
¡¡¡¡BZFϵÁзÀ±Õ×°ÖõĽṹÈçͼ1Ëùʾ¡£ÓÉÕñ¶¯µç»ú£¨1£©¡¢µ××ù£¨2£©Á½²¿·Ö×é³É¡£Õñ¶¯µç»úºÍµ××ùÓÉÂÝ˨½ôÃܵع̶¨ÎªÒ»Ì壬ÓÉÓÚµ××ù¼á¹ÌµØ°²×°ÔÚÁϲֱÚÉÏ£¬ÕâÑù¾Í¹¹³ÉÁ˵¥Öʵ㶨ÏòÇ¿ÆÈÕñ¶¯ÏµÍ³¡£

¡¡¡¡µ±·À±ÕÈû×°Öù¤×÷ʱ£¬Õñ¶¯µç»úµÄ¸ßËÙת¶¯£¬±ã²úÉúÁ˶ÔÁϲֱڵÄÖÜÆÚÐÔ¸ßÆµÕñ¶¯£¬ÓÉÓÚ·À±ÕÈû×°ÖõÄÖÜÆÚÐÔÕñ¶¯£¬Ò»·½ÃæÊ¹ÎïÁÏÓë²Ö±ÚÍÑÀë½Ó´¥¡¢Ïû³ýÎïÁÏÓë²Ö±ÚµÄĦ²Á£¬ÁíÒ»·½ÃæÊ¹ÎïÁÏÊܽ»±äËٶȺͼÓËٶȵÄÓ°Ï죬´¦ÓÚ²»Îȶ¨×´Ì¬£¬´Ó¶øÓÐЧµØ¿Ë·þÎïÁϵÄÄÚĦ²ÁÁ¦ºÍ¾Û¼¯Á¦£¬ÒÔÏû³ýÁϲÖÄÚÎïÁϼäµÄÏà¶ÔÎȶ¨ÐÔ£¬Ê¹ÎïÁÏ´ÓÁϲֿÚ˳ÀûÅųö¡£
Èý¡¢BZFϵÁÐÕñ¶¯·À±ÕÈû×°ÖÃ(·À±ÕÈû×°ÖÃ)ÐÔÄܲÎÊý£º
|
ÐÍ ºÅ |
µçѹ £¨V£© |
¹¦ÂÊ £¨KW£© |
ÊÊ²Ö±Ú°å ºñ£¨mm£© |
²Öǯ²¿ÈÝÁ¿ £¨t£© |
¼¤ÕñÁ¦ kg |
¼¤ÕñƵÂÊ r/min |
Õñ·ù mm |
ÍâÐÎ³ß´ç £¨³¤¡Á¿í¡Á¸ß£© |
ÖØÁ¿ kg |
|
BZF-3 |
380 |
0.09 |
2¡«3 |
0.5 |
100 |
3000 |
1.5 |
258¡Á260¡Á198 |
11 |
|
BZF-4 |
0.18 |
3.2¡«4.5 |
1 |
200 |
1.5 |
320¡Á326¡Á265 |
28 |
|
BZF-5 |
0.25 |
4.5¡«6 |
3 |
300 |
2 |
360¡Á328¡Á255 |
40 |
|
BZF-6 |
0.37 |
6¡«8 |
10 |
500 |
2 |
370¡Á460¡Á310 |
60 |
|
BZF-9 |
0.75 |
8¡«10 |
20 |
1000 |
4 |
427¡Á460¡Á374 |
90 |
|
BZF-12 |
1.5 |
10¡«13 |
50 |
2000 |
4 |
470¡Á482¡Á420 |
186 |
|
BZF-20 |
2.2 |
13¡«25 |
150 |
3000 |
5 |
535¡Á520¡Á432 |
220 |
|
BZF-30 |
3.7 |
25¡«40 |
200 |
5000 |
5 |
553¡Á610¡Á453 |
280 |
ËÄ¡¢BZFϵÁÐÕñ¶¯·À±ÕÈû×°ÖÃ(·À±ÕÈû×°ÖÃ)ÍâÐγߴ磺
|
ÐÍ ºÅ |
BZF-3 |
BZF-4 |
BZF-5 |
BZF-6 |
BZF-9 |
BZF-12 |
BZF-20 |
BZF-30 |
|
L |
258 |
320 |
360 |
370 |
440 |
470 |
535 |
553 |
|
A |
239 |
253 |
280 |
298 |
419 |
423 |
470 |
495 |
|
B |
260 |
326 |
328 |
460 |
462 |
482 |
520 |
610 |
|
H |
198 |
265 |
255 |
310 |
374 |
420 |
432 |
453 |
|
C |
199 |
213 |
240 |
248 |
369 |
363 |
410 |
435 |
|
D |
220 |
286 |
288 |
410 |
412 |
422 |
460 |
500 |
|
§¶ |
10 |
12 |
14 |
16 |
20 |
22 |
34 |
34 |