Ê×Ò³ - ÐÂÎÅ - ÕÐÆ¸ - ÏÂÔØ - ²úÆ· - ³§ÉÌ - ·½°¸ - ÎÄÕª - Çó¹º - Õ¹ÀÀ
Ãâ·Ñ×¢²á µÇ¼ | ¹ã¸æ·þÎñ | ¿Í·þÖÐÐÄ
Öлª¹¤¿ØÍø ¡ú ¹¤¿Ø²úÆ· ¡ú ²Ö±ÚÕñ¶¯Æ÷ LZF-15 LZF-10 XVMAÕñ¶¯µç»ú ZDJÕñ¶¯µç»ú
²úÆ·Ãû³Æ£º ²Ö±ÚÕñ¶¯Æ÷ LZF-15 LZF-10 XVMAÕñ¶¯µç»ú ZDJÕñ¶¯µç»ú
ÐÍ ºÅ£º LZF
¼Û ¸ñ£º 0.00
Æ· ÅÆ£º
 
Êղش˲úÆ·     ²é¿´ÊÕ²Ø
Ïêϸ½éÉÜ£º

LZF·À±ÕÈû×°ÖÃ(²Ö±ÚÕñ¶¯Æ÷)²úÆ·¸ÅÊö:
   ²Ö±ÚÕñ¶¯Æ÷ÓÖ³ÆÕñ¶¯·À·À±ÕÈû×°Öã¬ÓÃÀ´Ê¹Áϲ֡¢ÁϹ޻òÁ϶·Â©Á϶εÄÇãб±Ú¸ßƵÕñ¶¯£¬ÒÔ·ÀÖ¹²Ö£¨¹Þ¡¢¶·£©ÄÚµÄÎïÁÏÆð¹°¡¢³öÏÖ¹Ü״ͨµÀ¡¢²Ö±ÚÕ³ÁϵȲ»³©Á÷ÏÖÏó£¬ÒÔ±£Ö¤ÎïÁÏ´ÓÁϲ֡¢ÁϹ޻òÁ϶·ÖÐ˳³©Á÷³ö¡£²Ö±ÚÕñ¶¯Æ÷ÓÉÓÚ¾ßÓнṹ¼òµ¥¡¢·À¶ÂÈûÄÜÁ¦Ç¿¡¢Äܺĵ͡¢ÊÙÃü³¤¡¢¼¤ÕñÁ¦¿Éµ÷µÈÓŵ㣬ĿǰÒѹ㷺ӦÓÃÓÚú̿¡¢µçÁ¦¡¢½¨²Ä¡¢ÃºÌ¿¡¢¿óɽ¡¢»¯¹¤¡¢Ò±½ð¡¢ÖýÔì¡¢ÇṤ¡¢Ê³Æ·¡¢ÖÆÒ©¡¢Á¸Ê³¡¢½»Í¨µÈ¸÷ÖÖÐÐÒµ¡£

LZF·À±ÕÈû×°ÖÃ(²Ö±ÚÕñ¶¯Æ÷)½á¹¹¼°¹¤×÷Ô­Àí:
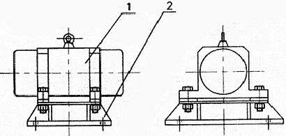
    ½á¹¹ÈçͼËùʾ¡£ÓÉÕñ¶¯µç»ú£¨1£©£¬µ××ù£¨2£©Á½²¿·Ö×é³É¡£Õñ¶¯µç»úºÍµ××ùÓÉÂÝ˨½ôÃܵع̶¨ÎªÒ»Ìå¡£ÓÉÓÚµ××ù½ô¹ÌµØ°²×°ÔÚÁϲֱÚÉÏ£¬ÕâÑù¾Í¹¹³ÉÁ˵¥Öʵ㶨ÏòÇ¿ÆÈÕñ¶¯ÏµÍ³¡£

    µ±LZF·À±ÕÈû ¹¤×÷ʱ£¬Õñ¶¯µç»úµÄ¸ßËÙת¶¯£¬±ã²úÉúÁ˶ÔÁϲֱڵÄÖÜÆÚÐÔ¸ßÆµÕñ¶¯£¬ÓÉÓÚ·À±ÕÈû×°ÖõÄÖÜÆÚÐÔÕñ¶¯£¬Ò»·½ÃæÊ¹ÎïÁÏÓë²Ö±ÚÍÑÀë½Ó´¥¡¢Ïû³ýÎïÁÏÓë²Ö±ÚµÄĦ²Á£¬ÁíÒ»·½ÃæÊ¹ÎïÁÏÊܽ»±äËٶȺͼÓËٶȵÄÓ°Ï죬´¦ÓÚ²»Îȶ¨×´Ì¬£¬´Ó¶øÓÐЧµØ¿Ë·þÎïÁϵÄÄÚĦ²ÁÁ¦ºÍ¾Û¼¯Á¦£¬ÒÔÏû³ýÁϲÖÄÚÎïÁϼäµÄÏà¶ÔÎȶ¨ÐÔ£¬Ê¹ÎïÁÏ´ÓÁϲֿÚ˳ÀûÅųö¡£

LZF·À±ÕÈû×°Öü¼Êõ²ÎÊý±í:

ÐͺŠÊÊÓÃÁϲÖÁï²Û±Úºñ£¨mm£© ×¶²¿²ÖÈÝ£¨T£© ÅäÓÃÕñ¶¯µç»ú ¼¤ÕñÁ¦£¨N£© ¹¦ÂÊ£¨KW£© ÖØÁ¿£¨Kg£© ÍâÐγߴ糤£ª¿í£ª¸ß£¨mm£©
LZF-3 1.6-3.2 0.35 YZU-0.7-2 700 0.075 17 240£ª285£ª245
LZF-4 3.2-4.5 1 YZU-1.5-2 1500 0.12 25 270-330£ª280
LZF-5 4.5-6 3 YZU-3-2 3000 0.25 35 280£ª330£ª280
LZF-6 6-8 10 YZU-5-2 5000 0.37 55 400£ª460£ª350
LZF10 8-10 20 YZU-10-2 10000 0.75 102 420£ª460£ª410
LZF15 10-13 50 YZU-20-2 20000 1.5 186 597£ª728£ª430
LZF25 15-25 1 YZU-30-2 30000 2.2 220 597£ª728£ª430

LZF²Ö±ÚÕñ¶¯Æ÷¿ÉÓÃÂÝ˨°Ñµ××ù¹Ì¶¨ÓÚÁϲֵײ¿µÄ²Ö±ÚÉÏ,Ò²¿ÉÖ±½Ó°Ñµ××ùº¸½ÓÔÚÁϲÖÉÏ,Æä¹Ì¶¨£¨º¸½Ó£©ÒªÀο¿,Óë²Ö±ÚÁ¬½ÓµÄ¸Õ¶ÈÔ½ºÃ,ÆäʹÓÃЧ¹û¾ÍÔ½ºÃ¡£

LZF·À±ÕÈû×°ÖÃÖ÷Òª³ß´ç±í:

ÐͺŠL B1 B H L2 L1 d
LZF-3 300 240 300 265 210 280 ¦Õ11
LZF-4 300 250 310 265 250 310 ¦Õ11
LZF-5 328 260 320 312 0.25 35 ¦Õ15
LZF-6 362 260 320 312 250 310 ¦Õ17
LZF-10 427 400 450 400 350 390 ¦Õ22
LZF-15 451 410 460 405 370 400 ¦Õ32
LZF-25 530 510 620 610 450 550 ¦Õ34

LZF·À±ÕÈû×°ÖÃ(²Ö±ÚÕñ¶¯Æ÷)°²×°²¿Î»¼°·½·¨:
1.È«¸Ö°åÖÆÁϲÖ:LZFÐÍ×°ÖÃÓ¦µ±º¸½ÓÔÚÁϲֱֲÚÃæÉÏ¡£
2.È«»ìÄýÍÁÁϲּ°´ø¼ÓÇ¿¸Ö½îÖÆÁϲÖ,ÔÚ²ÖÄÚÓ¦·óÉèÕñ¶¯°å,LZFÐÍ·À±ÕÈû×°ÖÃÓ¦º¸ÔÚÕñ¶¯°åÉÏ¡£
3.Éϲ¿Îª»ìÄýÍÁÁϲÖ,ϲ¿Îª¸ÖÖÆÁ϶·¡£LZFÐÍ·À±ÕÈû×°ÖÃÓ¦µ±º¸½ÓÔÚ¸ÉÖÆÁ϶·±ÚÃæÉÏ¡£
4.Öü´æ´¿´Ö¿éÎïÁϵÄÁϲÖ,ÕâÖÖÎïÁϵÄÁϲÖ,ÎÞÂÛÐÎʽÈçºÎ,¾ùÓ¦ÔÚ²ÖÄÚ·óÉèÕñ¶¯°å¡£LZFÐÍ×°ÖÃÓ¦º¸ÔÚÕñ¶¯°åÉÏ¡£
5.Áï²Û:LZFÐÍ·À±ÕÈû×°ÖÃÓ¦º¸ÔÚÁï²ÛÒ×Õ³,¶ÂÁϵIJ¿Î»ÉÏ¡£
  LZFÐÍ·À±ÕÈû×°ÖÃÓ¦°²×°ÔÚ°²×°ÃæµÄÕñ¶¯²¨¸¹¶ÎÉÏ,Õñ¶¯²¨¸¹¶ÎÔÚ°²×°Ãæ¾àÉϱ߻òϱß×ܳ¤¶ÈµÄÈý·ÖÖ®Ò»ÖÁËÄ·ÖÖ®Ò»µÄ²¿Î»¡£

 


¹«Ë¾¼ò½é
²úƷĿ¼
¹©Ó¦ÐÅÏ¢

¹«Ë¾Ãû³Æ£º ÐÂÏçÊкê´ïÕñ¶¯É豸ÓÐÏÞÔðÈι«Ë¾
µç »°£º 0373 2632855 / ÷¹ãÖÝ
ÊÖ»ú£º 13072638986
µØ Ö·£º ±±»·»·Óî´óÇÅÎ÷300Ã×·ÄÏ
ÓÊ ±à£º 453003
Ö÷ Ò³£º http://e.weibo.com/xxhdzd

¸Ã³§ÉÌÏà¹Ø²úÆ·£º
  • MVEÕñ¶¯µç»ú MVE-300-3µ¥ÏàÒì²½Õñ¶¯µç»ú
  •  
  • ¼Û¸ñ MVEÕñ¶¯µç»ú MVE300/3 MVE200/3 MVE700/15Õñ¶¯Æ÷
  •  
  • VB-314-WÕñ¶¯µç»ú VB-534-Wµç¶¯»ú
  •  
  • ²Ö±ÚÕñ¶¯Æ÷ LZF-15 LZF-10 XVMAÕñ¶¯µç»ú ZDJÕñ¶¯µç»ú
  •  
  • GZG×Ôͬ²½¹ßÐÔÕñ¶¯¸øÁÏ»ú
  •  
  • CZQϵÁвֱÚÕñ¶¯Æ÷ ZW ZF150-150¸ßƵ¸½×ÅʽÕñ¶¯Æ÷
  •  
  • BZF-12²Ö±ÚÕñ¶¯Æ÷ ZWƽ°åÕñ¶¯Æ÷
  •  
  • CZ-10µç´Å²Ö±ÚÕñ¶¯Æ÷
  •  
  • LZF-15²Ö±ÚÕñ¶¯Æ÷
  •  
  • ÉϺ£²Ö±ÚÕñ¶¯Æ÷ LZF²Ö±ÚÕñ¶¯Æ÷
  •  
    ¸ü¶à²úÆ·...
      ¹ØÓÚÎÒÃÇ | ÁªÏµÎÒÃÇ | ¹ã¸æ·þÎñ | ±¾Õ¾¶¯Ì¬ | ÓÑÇéÁ´½Ó | ·¨ÂÉÉùÃ÷ | ·Ç·¨ºÍ²»Á¼ÐÅÏ¢¾Ù±¨  
    ¹¤¿ØÍø¿Í·þÈÈÏߣº0755-86369299
    °æÈ¨ËùÓÐ ¹¤¿ØÍø Copyright@ Gkong.com, All Rights Reserved